一、
用途
本產品供醫療單位放射科作快速干燥膠片之用。
二、
結構特點
本膠片
干燥箱為立體式結構,頂部箱蓋采用特大觀察窗設計。便于觀察箱內情況。箱體選用優質薄鋼板制成、表面噴塑。電動送風機、數顯溫控儀、電加熱器為本機三個主要部件。
1. 電動送風機,裝置于箱底部運轉時由離心式風扇葉輪將上部空氣吸**風機入口,然后在箱體前后夾層內向上排出,流經工作室干燥膠片,再吸**送風機入口,如此不斷循環而獲均衡之熱源。同時,膠片
干燥箱左側排氣道將大量的濕空氣排出箱外。
2. 數顯溫控儀,本儀表裝置于箱底前下部,采用微電腦技術控溫,控溫靈敏可靠,精度高。可根據箱內干燥膠片的數量及所處環境的不同溫濕度情況,非常方便地設定所需的干燥溫度并可靠地加以控制。
3. 電加熱器裝置于箱體前后夾層內,共有二個發熱單位、由面板上的電源開關和控制器控制。
三、
主要技術指標
|
序號 |
項目 |
技術指標 |
|
1 |
控溫范圍 ℃ |
室溫+5~70 |
|
2 |
溫度波動 ℃ |
±1 |
|
3 |
顯示和給定允差℃ |
±2 |
|
4 |
工作電壓 |
~220V/50Hz |
|
5 |
電熱器功率 VA |
600×2 |
|
6 |
電機功率 |
15W |
|
7 |
工作室尺寸cm |
59×37×57 |
|
8 |
外形尺寸cm |
65×51×95 |
|
9 |
包裝箱尺寸cm |
80×67×100 |
|
10 |
凈重/毛重kg |
80/115 |
四、
控溫儀操作說明:(配用儀表,TBD-5211T)
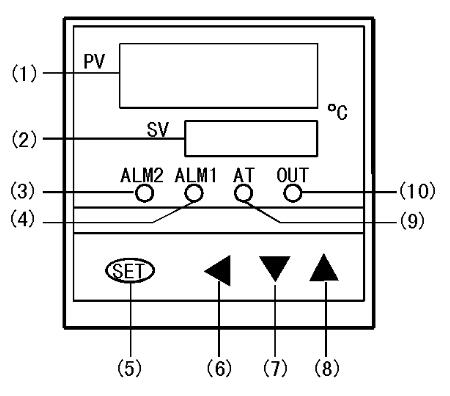
控溫儀控制面牌

1. 面牌布置說明:
(1)測量值顯示窗 (6)移位鍵(啟動/停止鍵)
(2)設定值顯示窗 (7)減數鍵
(3)報警2指示燈 (8)加數鍵(自整定鍵)
(4)報警1指示燈 (9)自整定指示燈
(5)設定鍵 (10)主控輸出指示燈
2. 按鍵操作:
儀表一上電,上排數碼管顯示測量溫度,下排數碼管顯示設定溫度。若短按SET鍵則進入溫度設定狀態,上排顯示SP提示符,下排顯示設定溫度,再按一下SET鍵,上排顯示ST提示符,下排顯示設定時間。若長按住SET鍵5S,則進入參數設定狀態,上排顯示提示符,下排顯示參數值。通過?、▼、▲鍵可修正參數。參數設定完畢后,按住SET鍵5秒退出設定狀態。在正常狀態下長按住▲鍵5秒,AT自整定燈亮,即進入自整定狀態。整定結束,AT燈滅,儀表回到正常控制狀態;若在自整定過程中進入設定狀態,則退出自整定程序。
參數列表如下:
|
提示符 |
數值范圍 |
功能定義 |
出廠值 |
|
SP |
SPL~SPH |
溫度設定值 |
隨機 |
|
ST |
0~9999分 |
時間設定值 |
隨機 |
|
長按SET鍵 |
|
Lock |
0~9999 |
參數鎖 |
0 |
|
SC |
-50.0~+50.0℃ |
測量值修正量 |
隨機 |
|
Lock為8000 |
|
P |
0.1~50.0℃ |
輸出比例帶 |
隨機 |
|
I |
1~400 |
積分時間 |
隨機 |
|
d |
0~100 |
微分時間 |
隨機 |
|
T |
1~200 |
輸出比例周期 |
隨機 |
|
AL1 |
-20~+20℃ |
偏差報警 |
2℃ |
|
ET |
0~2 |
定時功能選項 |
0 |
|
Pr |
1~100 |
恒溫功率上限百分比 |
隨機 |
|
SPL |
量程下限~SPH |
溫度設定值低限 |
0℃ |
|
SPH |
SPL~量程上限 |
溫度設定值高限 |
70℃ |
3. 各功能詳細說明:
1) 在各設定狀態通過按加數鍵、減數鍵和移位鍵可快速設置各參數,設定結束需按SET鍵確認,否則無效。當Lock為0時,只有SC參數可修改;當Lock為8000時,除SC 外,所有參數均可修改。
2) 參數SC為測量值修正量,可修正由傳感器及引線長短引起的測量誤差。若實際溫度比儀表測量溫度高2℃,則SC在原來基礎上加2℃;反之則反。
3) 參數P為輸出比例帶,系統的慣性越大,則P值應越大。
4) 參數I為積分時間,積分時間越小,積分作用越強。積分作用用于消除靜差。
5) 參數d為微分時間,微分時間越大,微分作用越強;當d為0時,無微分作用。微分作用能產生超前控制,提高動態調節品質。
6) 參數T為輸出比例周期,T值越小則控制性能越好。但觸點開關式輸出時應考慮中間繼電器的壽命,T值應為20以上。
7) 參數AL1為報警1值,測量值偏離設定值∣AL1∣℃后報警,AL1設為0時為到點報警,設為正值為上偏差報警,設為負值為下偏差報警。
8) 定時功能選項參數ET為0時,無定時功能,時間設定菜單隱藏;ET為1或2時,顯示時間設定菜單ST。若ST設為0則不計時,否則,ET為1時,儀表一上電就開始計時;ET為2時,當溫度達到設定值時啟動計時。定時采用倒計時方式,開始計時,則下排顯示剩余時間,計時結束,則下排顯示STOP,運行停止,輸出關斷,同時有斷續蜂鳴聲提醒,按任一鍵可消音。連續按?鍵3秒可啟動或停止程序運行。
9) 參數Pr為恒溫功率上限百分比,對于輸出控制加熱的系統,Pr對應于設定值高限(SPH)恒溫時所需功率占加熱總功率的百分比。根據系統要求可先確定設定值低限(SPL)和設定值高限(SPH),再根據系統的功率配置及系統的保溫性能設置合適的Pr值,一般若系統的功率配置偏大或保溫性能很好,則Pr值應小,能防止沖溫;反之則Pr值應大,能提高升溫速度。通常一個系統在不同的設定溫度下自整定得出的P、I、D參數是不同的,一般建議在系統低溫端整定參數,而用于高溫端時可能升溫較慢,此時調整Pr值即可使系統在整個范圍內都能達到很好的控制效果。
10) 當SV窗顯示
? ? ? ? 時,表示傳感器開路、短路或溫度超出儀表測量范圍。
4. 控溫接線示意圖:

一、
使用說明
1.將夾在洗片架上已清洗的膠片瀝去滴水、然后放在工作室的槽架上。并把箱蓋關閉。
2.溫度選擇和設定
1) 在一般情況下和熱天,將溫控儀加熱控制溫度選擇設定在50℃
2) 在箱內掛滿膠片,環境濕度較高季節或寒冷天時、將溫控儀加熱控制溫度選擇設定在65℃。
3) 也可視具體情況,將加熱控制溫度選擇設定在50℃**65℃之間內任一適宜溫度。
3.將電源插頭插在~220V電源插座上、接通電源。

且電源插座應有可靠接地。
4.智能控溫儀使用詳見四、控溫儀操作說明。
5.如果溫度波動度較大時可根據操作說明上的提示方法進行自整定操作,以修正PID數值。
六、注意事項和維護修理
1、放置和取出膠片時,

必須關閉電源開關。
2、

使用前必須注意所用電源電壓與所規定的電壓相符、并將電源插座接地極按規定進行有效地接地。
3、每次使用完畢后須將電源全部切斷。
4、經常保持箱內外清潔。(工作室底板為活絡式,將里面下端螺釘旋開,整個底板可拿出來清理干凈。)
5、非必要時,不得隨意拆卸溫度控制儀,以防損壞。
6、在箱體右側下部進風罩殼內裝有空氣過濾銅絲網,應定期拆下清洗。
7、操作使用本箱前,請詳細閱讀說明書,以防誤操作。
七、運輸、貯存
1. 搬運時必須小心,不可倒立運輸,小心輕放。
2. 貯存在相對濕度不超過80%,無腐蝕性氣體和通風良好的室內。
八、售后服務
本設備實行三包(包修、包換、包退),保修期為一年(除發熱元件外)。保修期內凡是非人為因素而發生地損壞或不能正常工作時,我公司負責免費維修或更換產品零件;一年后本著為用戶服務的精神,盡力為用戶提供方便。
裝箱單
|
序號 |
名稱 |
類別 |
數量 |
備注 |
|
1 |
JP-II型X線膠片干燥箱 |
主機 |
1臺 |
|
|
2 |
使用說明書 |
文件 |
1份 |
|
|
3 |
合格證 |
文件 |
1份 |
|
|
4 |
保修卡 |
文件 |
1份 |
|
|
5 |
本裝箱單 |
文件 |
1份 |
|
|
6 |
熔絲管 |
備件 |
1只 |
|